济南今冬采暖费开缴!价格、供暖时间表都在这!想报停的也要抓紧啦!
2018-09-28 13:16:35 来源: 济南日报
夏天被晒黑的脸还没捂白
一眨眼都要开始供暖了!
济南今冬供暖季即将开始!
采暖费开缴啦!
今年缴纳暖气费截止日期是什么时候?
供暖正式开始的时间是什么?
暖气报停的时间截止到几月几日?
赶紧看这
↓↓↓
供暖时间表
供暖开始时间:2018年11月15日
供暖缴费截止时间:2018年11月15日
供暖报停截止:2018年10月15日
温馨提示:如果不在10月15日前报停,则默认是继续开通暖气;如果不在11月15日前缴费成功,则会按日加收约定的违约金哦!
客户当年报停,次年未交费、未办理报停手续的视为延续报停。
暖气费价格及计算公式
1、按面积交费用户:居民用户按套内建筑面积26.7 元/ ㎡交纳;公建用户按建筑面积39.8 元/ ㎡交纳
2、按计量交费用户:供热计量价格实行两部制热价,即基本热价加计量热价。基本热价按房屋面积收取,其中居民住宅按套内建筑面积,非居民住宅按建筑面积,计量热价按计量表装置读数收取。计算公式为:
用热费用=基本热费(占供热费的30%)+计量热费(占供热费的70%)
其中:
基本热费=基本热价(元/米2)×计费面积(米2)
计量热费=计量热价(元/千瓦时)×用热量(千瓦时)
计费面积:居民住宅按套内建筑面积,非居民住宅按建筑面积。
居民住宅基本热价为每平方米8.01元;计量热价为每千瓦时0.20元。
非居民用热基本热价为每平方米11.94元;计量热价为每千瓦时0.30元。
3、低保及特困家庭采暖费标准为:19.5 元/ ㎡
缴费方式
居民可通过热企微信公众号、支付宝,客服营业厅流动服务车,网上银行、手机银行,银行网点等多种方式缴费。
济南热电缴费方式
济南热力缴费方式
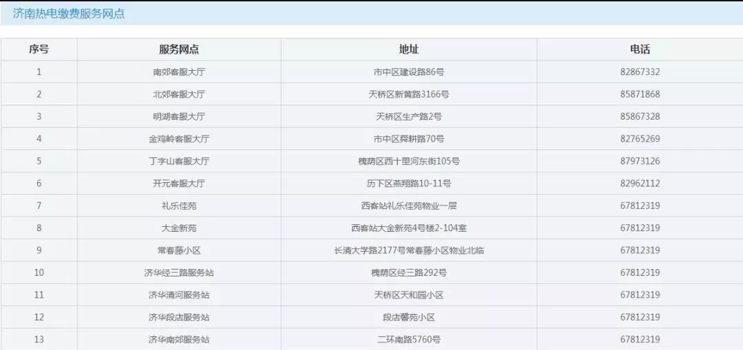
服务网点
济南热电
济南热力
东泰热力


-
济南3000套特惠房源来了
2025-02-12
-
济南房价情况,最新公布
2024-01-30
-
济南第六座万达广场开工,落子西客站片区
2024-01-08
-
2023年9月济南共计推盘31次,推出房源2684套,供应量翻倍!
2023-10-10
-
全面解除限购后的首个“小长假”,济南楼盘到访量明显增长
2023-10-02


